Είναι προφανές τους τελευταίους μήνες πως η Sony έχει εγκαταλείψει το PS Vita, τουλάχιστον από θέμα υποστήριξης AAA παιχνιδιών. Προς αυτή την κατεύθυνση κινούνται και οι περσινές δηλώσεις του κ. Yoshida πως είναι απίθανο να δούμε ένα PS Vita 2 καθώς ο κόσμος φαίνεται πως προτιμά το gaming εν κινήση στα smartphones που γίνονται κάθε χρονιά δυνατότερα. Παρόλα αυτά με την επικείμενη κυκλοφορία του Switch και ενδεχόμενη επιτυχία του, πολλά μπορούν να αλλάξουν.
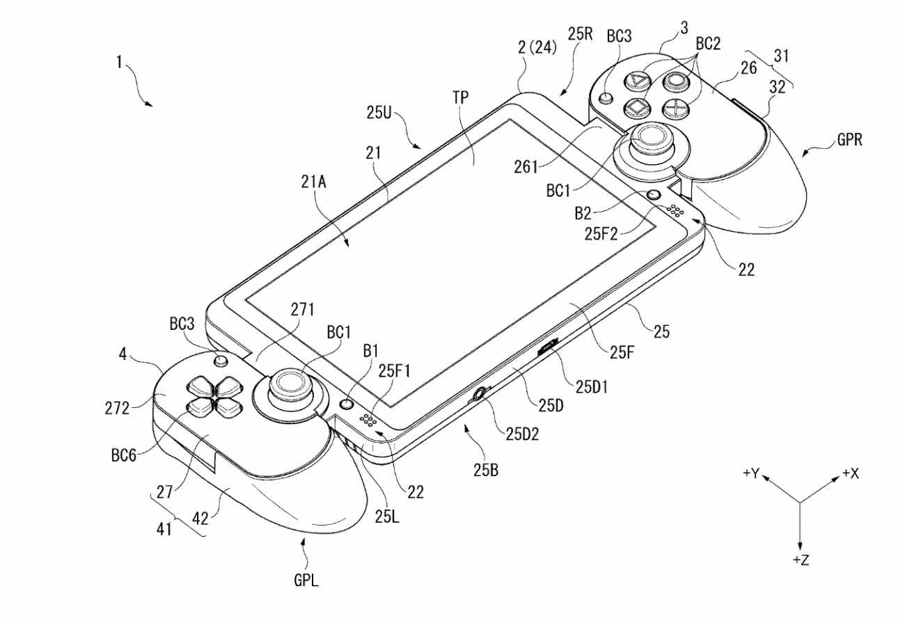
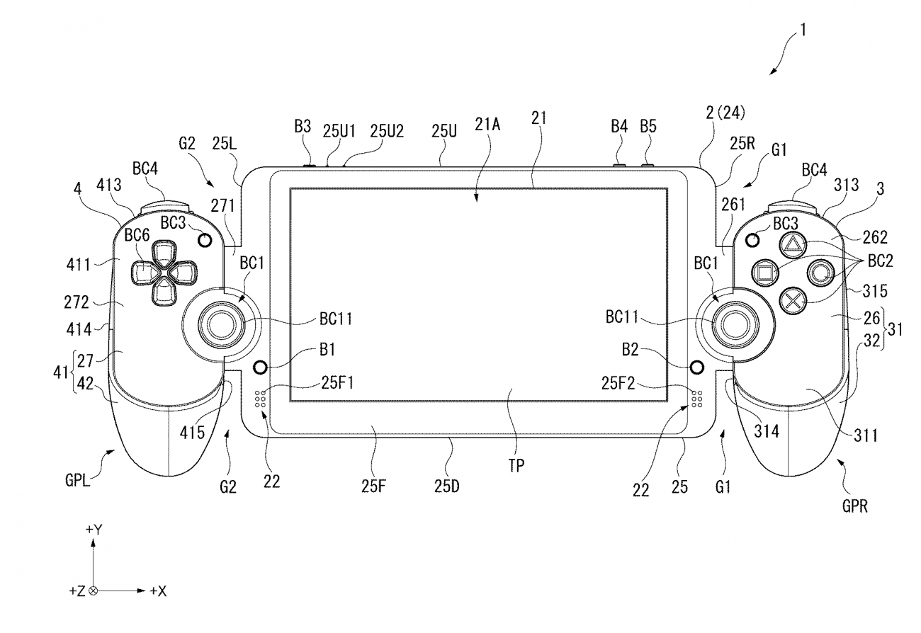
Πρόσφατα το ιαπωνικό γραφείο πατεντών δημοσίευσε μία πατέντα της Sony για μία φορητή κονσόλα που μπορεί να είναι η επόμενη γενιά του PlayStation Vita. Παρόλα αυτά φαίνεται ότι αρχικά η πατέντα καταχωρήθηκε τον Αύγουστο του 2015 και δημοσιεύθηκε τελικά στις 16 Φεβρουαρίου του 2017. Αν και όπως μπορείτε να διαπιστώσετε από τις φωτογραφίες, η συσκευή μοιάζει περισσότερο με το Project Fiona της Razer αυτό που στην ουσία αποτυπώνει είναι μία συσκευή τύπου tablet με δύο μισά DualShock χειριστήρια.
Παρατηρώντας με περισσότερη προσοχή τις εξελίξεις δεν θεωρώ ότι υπάρχει ισχυρός λόγος για να ενθουσιαζόμαστε. Η συγκεκριμένη πατέντα μπορεί να αποτελεί αξεσουάρ για κάποιο Xperia Tablet ή απλά να παραμείνει πατέντα. Σαν ενθουσιώδης gamers όμως δεν μπορεί παρά να ελπίζουμε να δούμε κάτι ισχυρό που θα μας εκπλήξει όπως μία επόμενης γενιάς PS Vita που θα υποστηρίζει ΑΑΑ τίτλους που παίζουμε και στις οικιακές κονσόλες.
Εσείς περί τίνος πιστεύετε ότι πρόκειται; Αφήστε το σχόλιό σας με την άποψή σας.
Μείνετε συντονισμένοι για περισσότερα νέα.
- Κάντε like στη σελίδα μας στο Facebook
- Κάντε μας follow στο Twitter | Instagram
- Κάντε μία εγγραφή στο κανάλι μας στο YouTube











