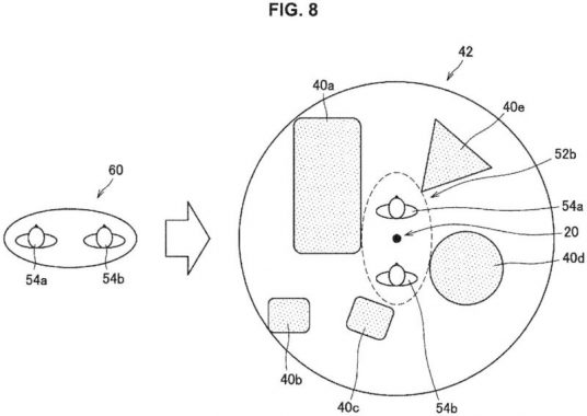
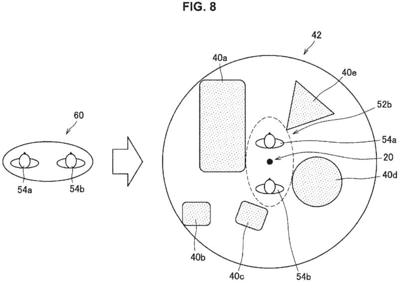
Πρέπει να είναι η χρονιά της πατέντας φέτος μιας και ήδη το τελευταίο μήνα και λίγο παραπάνω ολοένα και παραπάνω κατοχυρωμένες πατέντες βλέπουν το φως τη δημοσιότητας. Η τελευταία έρχεται από τη Sony και έχει να κάνει πάλι με Virtual Reality (VR). H πατέντα αυτή περιγράφει την ασύρματη επικοινωνία διαφόρων συσκευών Headset με μία κεντρική συσκευή. Μάλιστα περιγράφεται και η δυνατότητα το ένα Headset να βλέπει το άλλο μέσα στον ίδιο εικονικό χώρο!
Αυτή η πατέντα ανοίγει νέους δρόμους και πιθανότατα ανοίγει και το τοπικό Multiplayer. Σημειώνεται ότι η ασύρματη επικοινωνία ίσως να μην έχει να κα΄νει με την αυτονομία των Headssets αλλά καθαρά με την επικοινωνία τους με την κεντρική μονάδα.
Υπενθυμίζεται ότι η προηγούμενη πατέντα της Sony είχε να κάνει με το Motion Sickness και το VR και την είχαμε ανέβάσει ως είδηση τον Σεπτέμβριο. Φαίνεται ότι η Sony ενδιαφέρεται για το Virtual Reality ως μέσο και επενδύει σε αυτό.
Μην ξεχάσετε να μας ακολουθήσετε στα παρακάτω Social Media. Busted είστε!
- Γίνετε μέλη στο επίσημο group μας το Greek Busted Gamers
- Κάντε like στη σελίδα μας στο Facebook
- Ακολουθήστε μας επίσης στα Instagram | Twitter
- Κάντε μία εγγραφή στο κανάλι μας στο YouTube









