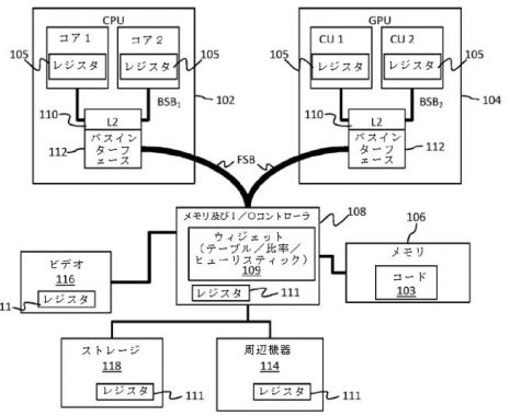
Με το PlayStation 5 στον ορίζοντα προφανώς και οποιαδήποτε πατέντα έχει να κάνει με Backwards Compatibility θα έχει στόχο εφαρμογής το ίδιο το PlayStation 5. Η νέα πατέντα που κατοχυρώθηκε χθες φέρει και το όνομα του Mark Cerny, του lead architect του PlayStation 4.
Η πατέντα αυτή επιτρέπει στη Sony να αντιμετωπίζει θέματα που συσχετίζονται με το interface όταν ένα Legacy Application τρέχει σε μία νέα συσκευή. Ακούγεται τεχνικό για εμάς αλλά οι λέξεις κλειδιά αρκούν: Legacy Applications και νέα συσκευή.
Αν λάβουμε υπόψιν και τις προηγούμενες πατέντες που έχουν κατοχυρωθεί τότε το Backwards Compatibility είναι δεδομένο πλέον στο PlayStation 5 ή όχι, τι λέτε;
Μην ξεχάσετε να μας ακολουθήσετε στα παρακάτω Social Media. Busted είστε!
- Γίνετε μέλη στο επίσημο group μας το Greek Busted Gamers
- Κάντε like στη σελίδα μας στο Facebook
- Ακολουθήστε μας επίσης στα Instagram | Twitter
- Κάντε μία εγγραφή στο κανάλι μας στο YouTube






