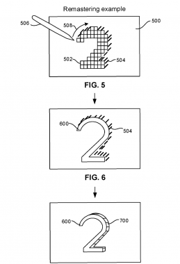
Τελευταία πολλές νέες πατέντες από τις μεγάλες εταιρίες έρχονται στο φως της δημοσιότητας με την τελευταία να την μαθαίνουμε από το gearnuke. Σύμφωνα με αυτό η Sony κατοχύρωσε πατέντα που ίσως αφορά το Backwards Compatibility, ένα feature που έχει η Microsοft στις κονσόλες της και έχει δεχτεί θετική κριτική για αυτό. Αυτή η πατέντα κατοχυρώθηκε από το 2016 αλλά ενημερώθηκε πρόσφατα στις 2 Οκτωβρίου 2018. Όπως θα δείτε από την εικόνα που ακολουθεί (λέξη κλειδί από την εικόνα η “Remastering”) και της περιγραφή μάλλον η Sony ετοιμάζεται για κάτι είτε στο επόμενο PlayStation (PS5) είτε στα τωρινά της μοντέλα (PS4, PS4 Pro).
Ακολουθεί ένα απόσπασμα από την πρωτότυπη κατοχύρωση της πατέντας:
“Each asset such as a texture called for by legacy software such as a legacy computer game software has a unique identifier associated with it. The unique identifier can be rendered by imposing a hash on the asset, and then the asset stored with its identifier in a data structure. An artist remasters the textures for presentation on a higher resolution display than envisioned in the original software, and stores them back in the data structure with their identifiers.The original software is then played on the higher resolution display, with asset (such as texture) calls being intercepted, identified, and the data structure entered to retrieve the remastered asset having a matching identifier. The remastered asset is then inserted on the fly into the game presentation.”
Εσείς βλέπετε με θετικό μάτι το Backwards Compatibility ή σας αφήνει αδιάφορους;
Μην ξεχάσετε να μας ακολουθήσετε στα παρακάτω Social Media. Busted είστε!
- Γίνετε μέλη στο επίσημο group μας το Greek Busted Gamers
- Κάντε like στη σελίδα μας στο Facebook
- Ακολουθήστε μας επίσης στα Instagram | Twitter
- Κάντε μία εγγραφή στο κανάλι μας στο YouTube






